
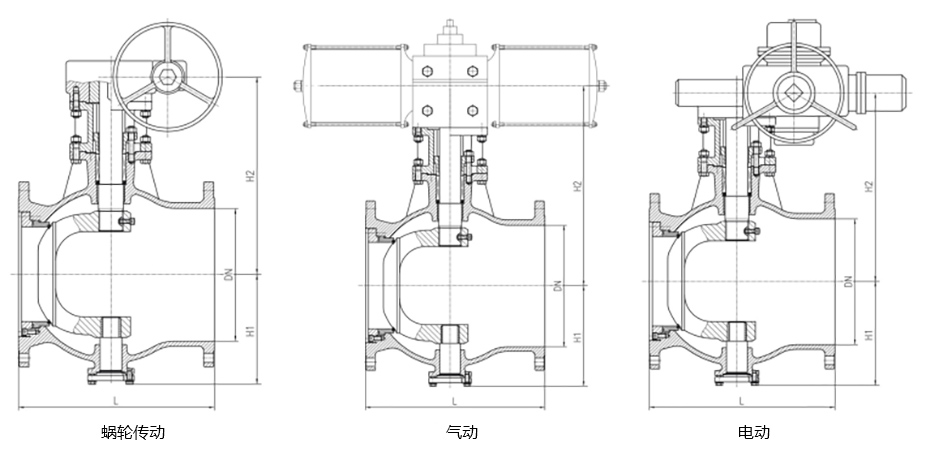
公称尺寸
DN(mm)50 65 80 100 125 150 200 250 300 350 400 450 500 600 700 800 900 1000 结构长度L
(mm)178 190 203 229 254 267 292 330 419
(356)551
(450)600
(530)650
(580)701
(660)800
(680)900 1000 1100 1200 H1(mm) 87 102 106 116.5 134.5 151 197 229.5 250 297 327 374 400 467 557 637 753.5 794 H2
(mm)蜗轮传动 209 234 240 254 304 320 407 444 519 555 619 679 744 819 925 1005 1073 1155 气动 228 283 289 303 362 378 473 522 600 646 730 790 900 1021 1138 1218 1296 1427 电动 273 346 352 366 437 463 561 627 705 761 880 940 1075 1229 1376 1456 1534 1707 
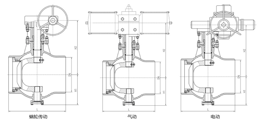
公称尺寸
DN(mm)50 65 80 100 125 150 200 250 300 350 400 450 500 600 700 800 900 1000 结构长度L
(mm)216 241 283 305 381 403 419 457 502 572 610 660 711 813 914 965 1016 1200 H1(mm) 87 102 106 116.5 134.5 151 197 229.5 250 297 327 374 400 467 557 637 753.5 794 H2
(mm)蜗轮传动 209 234 240 254 304 320 407 444 519 555 619 679 744 819 925 1005 1073 1155 气动 228 283 289 303 362 378 473 522 600 646 730 790 900 1021 1138 1218 1296 1427 电动 273 346 352 366 437 463 561 627 705 761 880 940 1075 1229 1376 1456 1534 1707
上一篇:没有了!
下一篇:上装式偏心半球阀



